Tubos flexibles para instalaciones hidráulicas
presión máx. de servicio 250/500 bar
Aplicación
Los tubos flexibles para alta presión se utilizan para la transmisión de energía y de señales en sistemas hidráulicos. Esto es válido sobre todo para la conexión de elementos móviles, pero también para la conexión de grupos hidráulicos no fijados en una base común, p.ej. central hidráulica y útil de sujeción.
Estructura del tubo flexible
Según la presión de servicio y el paso nominal los tubos flexibles alta presión consisten de una o varias capas de tela, textil o espiral.
1: capa interior
2: capa intermedia
3: capa exterior
4: pared del tubo flexible
5: capa aislante
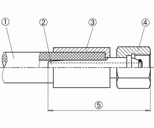
Conexión del tubo flexible
El tubo flexible para alta presión es sólo completamente montado con los racores para tubos flexibles apretados en ambos extremos.
1: tubo flexible
2: boquilla
3: casquillo
4: tuerca de racor
5: racor para tubo flexible
Duración - instrucciones de servicio
La duración incluso la duración en almacén no debe sobrepasar 6 años, el tiempo en almacén 2 años. Temperaturas altas elevadas, ciclos de movimiento frecuentes o frecuencias elevadas de impulso pueden reducir la duración de uso.
Mantenimiento
Antes de la puesta en marcha y por lo menos una vez por año, un experto debe verificar si los tubos flexibles para alta presión están todavía en estado perfecto.
Marcado - tubo flexible
Sobre el tubo flexible hay el marcado siguiente:
- Nombre o marca del fabricante
- Número del estándar europeo
- Tipo
- Diámetro nominal
- Trimestre y las dos últimas cifras del año de fabricación
Marcado - racor
Sobre el racor hay el marcado siguiente:
- Nombre o marca del fabricante
- Mes de fabricación
- las dos últimas cifras del año de fabricación
- Presión nominal PN del racor para tubo flexible
- Referencia del tubo flexible completo para altas presiones
Instrucciones importantes
El montaje, el uso y el mantenimiento erronéos pueden causar una duración reducida de los tubos flexibles para alta presión.
| Referencia | Datos CAD | tipo | ejecución | presión máx. de servicio [bar] | |
|---|---|---|---|---|---|
|
Referencia
|
Datos CAD
|
Propiedades
| |||
|
Referencia
|
Datos CAD
|
Propiedades
| |||
|
Referencia
|
Datos CAD
|
Propiedades
| |||
|
Referencia
|
Datos CAD
|
Propiedades
| |||
|
Referencia
|
Datos CAD
|
Propiedades
| |||
|
Referencia
|
Datos CAD
|
Propiedades
| |||
|
Referencia
|
Datos CAD
|
Propiedades
| |||
|
Referencia
|
Datos CAD
|
Propiedades
| |||
|
Referencia
|
Datos CAD
|
Propiedades
| |||
|
Referencia
|
Datos CAD
|
Propiedades
|
Aproveche nuestra zona de login gratuita:
- Descarga de datos CAD
- Descarga de instrucciones de servicio
¡Bienvenido de nuevo! Inicie sesión con su cuenta de usuario ya existente.'

