Mini mordaza compacta
doble efecto, presión máx. de servicio 200 bar
Las mini mordazas compactas están previstas para la aplicación en útiles de sujeción hidráulicos con alimentación de aceite a través de orificios taladrados en el cuerpo del útil.
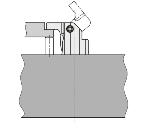
Gracias al pequeño diámetro del cuerpo de sólo 22 mm, la mini mordaza compacta puede instalarse en espacios dónde hasta ahora el espacio non era suficiente para un elemento de sujeción. En el caso de útiles de sujeción múltiples la distancia mínima entre los cilindros es de 28 mm. Un hueco en la pieza a mecanizar un poco más ancho que la palanca de sujeción es suficiente para la sujeción.
La mini mordaza compacta hidráulica es un cilindro a tracción de doble efecto. Una parte de la carrera lineal se utiliza para el giro de la palanca de sujeción. Para reducir las dimensiones al mínimo, la brida normalmente utilizada para la fijación por tornillos está suprimida. En lugar de ello 2 elementos de bloqueo enclavan en una ranura radial en el orificio empotrable. Al montarlos, estos elementos de bloqueo se abren radialmente a través de pasadores roscados accesibles desde arriba. Por eso la fuerza de sujeción axial está compensada en forma y sin juego.
La mini mordaza compacta es orientable en 360° en el orificio empotrable.
| Referencia | Datos CAD | tipo | funcionamiento | presión máx. de servicio [bar] | juntas | |
|---|---|---|---|---|---|---|
|
Referencia
|
Datos CAD
|
Propiedades
|
| Referencia | Datos CAD | Descripción |
|---|---|---|
|
Referencia
|
Datos CAD
|
Descripción
Cuerpo de conexión
para mini mordaza compacta 1800-110
rosca de conexión G 1/8
presión máx. de servicio 200 bar
según la hoja del catálogo B1.8271
|
|
Referencia
|
Datos CAD
|
Descripción
Junta tórica 8 x 1,5 mm, NBR
según la hoja del catálogo B1.5091
|
|
Referencia
|
Datos CAD
|
Descripción
Protección de plástico para M6
según la hoja del catálogo B1.853
|
Blocaje de una pieza fundida
Aproveche nuestra zona de login gratuita:
- Descarga de datos CAD
- Descarga de instrucciones de servicio
¡Bienvenido de nuevo! Inicie sesión con su cuenta de usuario ya existente.'

