Garras giratorias sin carrera de giro
doble efecto, presión máx. de servicio 250 bar
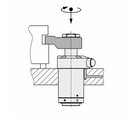
En esta versión sin carrera de giro axial, la brida de sujeción gira en un plano y no ejecuta ningún movimiento axial al girar.
Características especiales
• Mecanismo de giro reforzado
• Conexiones para rosca para tubos y conductos taladrados
• Protección antigiro radial en la carrera de sujeción
• Indexación de la brida de sujeción para la alineación exactamente repetible
Mecanismo de giro reforzado
Gracias al mecanismo de giro reforzado, la posición angular de la brida de sujeción se mantiene incluso tras una colisión suave al cargar y descargar la pieza de trabajo o durante el proceso de sujeción.
Protección antigiro radial en la carrera de sujeción
Con los útiles de sujeción giratorios también se pueden mecanizar piezas en posición invertida. En caso de una bajada repentina de la presión de sujeción, el dispositivo de protección antigiro radial impide que la brida de sujeción gire hacia atrás. En ese caso, la pieza de trabajo ya no estará firmemente sujeta. No obstante, mediante una disposición adecuada de varias garras giratorias y ayudas de posicionamiento de piezas de trabajo, se puede evitar que la pieza de trabajo se caiga del útil (véase también la nota al respecto en las instrucciones de servicio).
Ventajas
● Diseño compacto, parcialmente empotrable
● Longitud mínima
● Tiempo de bloqueo y desbloqueo muy corto
● Giro en cavidades estrechas
● Rascador con protección metálica contra virutas
Ejecuciones
• 3 tamaños
• Alojamiento para la brida de sujeción con cono 1:10, pasador pendular o cabeza de horquilla
• 2 carreras de sujeción según el tamaño
• Con giro a la derecha o a la izquierda o sin giro
• Ángulo de giro de 0°, 15° a 75° y 90°
• Puede elegirse el ángulo de la posición de sujeción en caso de pasador pendular o cabeza de horquilla
Juntas
NBR = caucho de butadieno nitrilo
Brida de sujeción doble
Permite sujetar piezas en útiles de sujeción múltiples mientras ahorra espacio. Los vástagos del pistón están disponibles con pasadores pendulares y cabezas de horquilla, lo que permite montar bridas de sujeción dobles con un ajuste óptimo. En el caso de una brida de sujeción doble de nuevo diseño, se debe determinar el momento de inercia para calcular el caudal admisible mediante la fórmula de la página 9 del catálogo.
| Referencia | Datos CAD | funcionamiento | diámetro del pistón [mm] | diámetro del vástago [mm] | fuerza de tracción máx. [kN] | |
|---|---|---|---|---|---|---|
|
Referencia
|
Datos CAD
|
Propiedades
| ||||
|
Referencia
|
Datos CAD
|
Propiedades
| ||||
|
Referencia
|
Datos CAD
|
Propiedades
| ||||
|
Referencia
|
Datos CAD
|
Propiedades
| ||||
|
Referencia
|
Datos CAD
|
Propiedades
| ||||
|
Referencia
|
Datos CAD
|
Propiedades
| ||||
|
Referencia
|
Datos CAD
|
Propiedades
| ||||
|
Referencia
|
Datos CAD
|
Propiedades
| ||||
|
Referencia
|
Datos CAD
|
Propiedades
| ||||
|
Referencia
|
Datos CAD
|
Propiedades
|
| Referencia | Datos CAD | Descripción |
|---|---|---|
|
Referencia
|
Descripción
Junta tórica 6 x 1,5 mm, NBR
según la hoja del catálogo B1.828
|
|
|
Referencia
|
Datos CAD
|
Descripción
Junta tórica 8 x 1,5 mm, NBR
según la hoja del catálogo B1.5091
|
|
Referencia
|
Datos CAD
|
Descripción
Brida de sujeción - pieza bruta, con cono 1:10
para vástago Ø 16 mm
máx. 250 bar, según la hoja del catálogo B1.8807
|
|
Referencia
|
Descripción
Brida de sujeción - pieza bruta, con cono 1:10
para vástago Ø 25 mm
máx. 250 bar, según la hoja del catálogo B1.8807
|
|
|
Referencia
|
Datos CAD
|
Descripción
Brida de sujeción - pieza bruta, con cono 1:10
para vástago Ø 36 mm
máx. 250 bar, según la hoja del catálogo B1.8807
|
|
Referencia
|
Descripción
Tuerca M14x1,5
según la hoja del catálogo B1.852
|
|
|
Referencia
|
Descripción
Tuerca hexagonal M22 x 1,5 mm
par de apriete: 50 Nm
según la hoja del catálogo B1.8807
|
|
|
Referencia
|
Descripción
Tuerca hexagonal M30 x 1,5 mm
par de apriete: 110 Nm
según la hoja del catálogo B1.8807
|
|
|
Referencia
|
Descripción
Pasador posicionado Ø3 x 6 mm, St50k
según la hoja del catálogo B1.852
|
|
|
Referencia
|
Datos CAD
|
Descripción
Pasador cilíndrico Ø 3 x 12 mm
según la hoja del catálogo B1.8807
|
Bei dieser Ausführung ohne axialem Schwenkhub schwenkt das Spanneisen in einer Ebene und macht beim Schwenken keine Axialbewegung.
Besondere Merkmale
• Verstärkte Schwenkmechanik
• Anschlüsse für Rohrgewinde und gebohrte Kanäle
• Radiale Verdrehsicherung im Spannhub
• Indexierung des Spanneisens zur wiederholgenauen Ausrichtung
Verstärkte Schwenkmechanik
Durch die verstärkte Schwenkmechanik bleibt die Winkelstellung des Spanneisens auch nach einer leichten Kollision beim Be- und Entladen des Werkstücks oder beim Spannvorgang erhalten.
Radiale Verdrehsicherung im Spannhub
Mit schwenkbaren Spannvorrichtungen können Werkstücke auch über Kopf bearbeitet werden. Bei einem plötzlichem Spanndruckabfall wird durch die radiale Verdrehsicherung ein Zurückschwenken des Spanneisens verhindert. Das Werkstück ist dann nicht mehr festgespannt. Durch eine sinnvolle Anordnung mehrerer Schwenkspanner und Werkstückpositionierhilfen kann aber ein Herausfallen des Werkstücks aus der Vorrichtung verhindert werden (siehe auch Hinweis in der Betriebsanleitung).
Vorteile
● Kompakte Bauform teilweise versenkbar
● Kürzeste Baulänge
● Sehr kurze Spann- und Entspannzeit
● Einschwenken in schmale Vertiefungen
● Abstreifer mit metallischem Späneschutz
Ausführungen
• 3 Baugrößen
• Spanneisenaufnahme mit Kegel 1 : 10, Pendelauge oder Gabelkopf
• 2 Spannhübe je Baugröße
• rechts, links oder nicht schwenkend
• Schwenkwinkel 0°, 15° bis 75° und 90°
• Winkel der Spannstellung bei Pendelauge oder Gabelkopf wählbar
Dichtungen
NBR = Nitril-Butadien-Kautschuk
Doppelspanneisen
Damit können in Mehrfachspannvorrichtungen Werkstücke platzsparend gespannt werden. Lieferbar sind Kolbenstangen mit Pendelaugen und Gabelköpfen, sodass optimal passende Doppelspanneisen befestigt werden können. Für ein neu konstruiertes Doppelspanneisen muss das Trägheitsmoment ermittelt werden, um den zulässigen Volumenstrom nach der Formel auf Seite 9 des Katalogblatts zu berechnen.
Aproveche nuestra zona de login gratuita:
- Descarga de datos CAD
- Descarga de instrucciones de servicio
¡Bienvenido de nuevo! Inicie sesión con su cuenta de usuario ya existente.'






