Elemento de sujeción en taladros
doble efecto, para diámetro del orificio 7,8-17,7 mm
presión máx. de servicio 250 bar
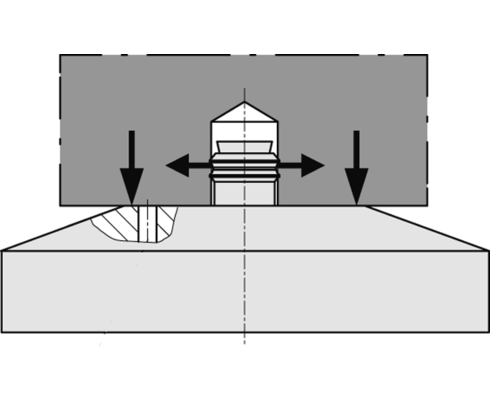
Los elementos de sujeción en taladros son apropiados para el blocaje de piezas a mecanizar con taladros lisos de diámetro 7,8 a 17,7 mm en las superficies de apoyo.
El elemento de sujeción en taladros es un cilindro de tracción de doble efecto con una pinza de sujeción intercambiable fijada a su pistón.
Los 4 segmentos de la pinza de sujeción se abren radialmente con la fuerza del muelle del bulón de sujeción piramidal. Por lo tanto la fuerza de expansión es siempre igual, independientemente de la presión de sujeción hidráulica.
La pieza a mecanizar se mantiene también sin presión hidráulica mediante la pinza de sujeción extendida.
Tanto la tracción hacia abajo de la pieza a mecanizar como el desblocaje de la pinza de sujeción se controlan hidráulicamente.
Con la conexión de la estanqueidad por aire se protege la pinza de sujeción contra virutas y líquidos refrigerantes.
En la superficie templada de apoyo para la pieza a mecanizar se encuentra un orificio para el control neumático de apoyo.
| Referencia | Datos CAD | tipo | funcionamiento | presión máx. de servicio [bar] | conexiones hidráulicas | |
|---|---|---|---|---|---|---|
|
Referencia
|
Datos CAD
|
Propiedades
| ||||
|
Referencia
|
Datos CAD
|
Propiedades
| ||||
|
Referencia
|
Datos CAD
|
Propiedades
| ||||
|
Referencia
|
Datos CAD
|
Propiedades
| ||||
|
Referencia
|
Datos CAD
|
Propiedades
| ||||
|
Referencia
|
Datos CAD
|
Propiedades
| ||||
|
Referencia
|
Datos CAD
|
Propiedades
| ||||
|
Referencia
|
Datos CAD
|
Propiedades
| ||||
|
Referencia
|
Datos CAD
|
Propiedades
| ||||
|
Referencia
|
Datos CAD
|
Propiedades
|
| Referencia | Datos CAD | Descripción |
|---|---|---|
|
Referencia
|
Descripción
Juego de sujeción para elemento de sujeción en taladros
tamaño 2, Ø 11,3 - 11,7 mm
para elemento de sujeción en taladros 4318-2X0F
según la hoja del catálogo B1.4841
|
|
|
Referencia
|
Descripción
Juego de sujeción para elemento de sujeción en taladros
tamaño 2, Ø 11,8 - 12,7 mm
para elemento de sujeción en taladros 4318-2X0G
según la hoja del catálogo B1.4841
|
|
|
Referencia
|
Descripción
Juego de sujeción para elemento de sujeción en taladros
tamaño 2, Ø 12,8 - 13,7 mm
para elemento de sujeción en taladros 4318-2X0H
según la hoja del catálogo B1.4841
|
|
|
Referencia
|
Descripción
Juego de sujeción para elemento de sujeción en taladros
tamaño 2, Ø 13,8 - 14,7 mm
para elemento de sujeción en taladros 4318-2X0K
según la hoja del catálogo B1.4841
|
|
|
Referencia
|
Descripción
Juego de sujeción para elemento de sujeción en taladros
tamaño 2, Ø 14,8 - 15,7 mm
para elemento de sujeción en taladros 4318-2X0L
según la hoja del catálogo B1.4841
|
|
|
Referencia
|
Descripción
Juego de sujeción para elemento de sujeción en taladros
tamaño 2, Ø 15,8 - 16,7 mm
para elemento de sujeción en taladros 4318-2X0M
según la hoja del catálogo B1.4841
|
|
|
Referencia
|
Descripción
Juego de sujeción para elemento de sujeción en taladros
tamaño 2, Ø 16,8 - 17,7 mm
para elemento de sujeción en taladros 4318-2X0N
según la hoja del catálogo B1.4841
|
|
|
Referencia
|
Descripción
Juego de sujeción para elemento de sujeción en taladros
tamaño 1, Ø 7,8 - 8,2 mm
para elemento de sujeción en taladros 4318-1X0A
según la hoja del catálogo B1.4841
|
|
|
Referencia
|
Descripción
Juego de sujeción para elemento de sujeción en taladros
tamaño 1, Ø 8,3 - 9,2 mm
para elemento de sujeción en taladros 4318-1X0B
según la hoja del catálogo B1.4841
|
|
|
Referencia
|
Descripción
Juego de sujeción para elemento de sujeción en taladros
tamaño 1, Ø 9,3 - 9,7 mm
para elemento de sujeción en taladros 4318-1X0C
según la hoja del catálogo B1.4841
|
Mecanizado de 5 caras de un cárter de aceite
Aproveche nuestra zona de login gratuita:
- Descarga de datos CAD
- Descarga de instrucciones de servicio
¡Bienvenido de nuevo! Inicie sesión con su cuenta de usuario ya existente.'

